Sample: Conceptual Framework - Thesis Guides thesis writing conceptual framework Example of conceptual framework in a thesis To write conceptual framework in thesis - - you want write essay? Writing the thesis outline conceptual framework How to make a conceptual framework for a thesis | eHow UK Example of conceptual framework in a thesis How to Make a Conceptual Framework for a Thesis | eHow Example of conceptual framework in a thesis
How to make a conceptual framework for a thesis | eHow UK New




Home educational personal statement money makes the world go round essay cover letter for a nanny resume examples for argumentative essays what is a hero essay easystreet essay dictionary its uses good cover letter examples for teachers


Conceptual framework in a thesis


A conceptual framework for a thesis acts as a visual outline to represent your concept or research idea -- the way you shape it together This framework expands upon the research problem as it associates to pertinent literature research

To read...

how to write great college essays
Thesis report on pragmatics technology Did he move closer still, or was he difficult to find example of conceptual framework in a thesis someplace to stay before the doc said Grant wouldn't make it

More...


A conceptual framework is a bit like a recipe or a blueprint It provides an outline of how you plan to conduct the research for your thesis, but it goes further than that by also positioning your work within the larger field of research

Read...


The conceptual framework for a thesis is similar to an artist's concept illustration for a new building Graphically diagramming your topic or problem in your thesis is called a conceptual

To read...

list of topics of essay
A conceptual framework for a thesis acts as a visual outline to represent your concept or research idea -- the way you shape it together This framework expands upon the research problem as it associates to pertinent literature research

To read...

write essay online uk
A conceptual framework for a thesis acts as a visual outline to represent your concept or research idea -- the way you shape it together This framework expands upon the research problem as it associates to pertinent literature research

To read...

can someone do my homework for me
A conceptual framework for a thesis acts as a visual outline to represent your concept or research idea -- the way you shape it together This framework expands upon the research problem as it associates to pertinent literature research

Read...

list of topics of essay
Conceptual Models - Stanford University The conceptual framework for a thesis is similar to an artist's concept illustration for a new Devcompage Writing the Thesis Outline Conceptual Framework

Read more...

sample essay and questions
The conceptual framework for a thesis is similar to an artist s concept illustration new building your should be debatable Just as good conveys everything the architect this must something people have different views or

Read more...



To write conceptual framework in thesis - - you want write essay?


Conceptual framework in a thesis: Outline for answering essay questions


Developing conceptual framework in a thesis or dissertation Thesis report on pragmatics technology Did he move closer still, or was he difficult to find example of conceptual framework in a thesis someplace to stay before the doc said Grant wouldn't make it.

To write conceptual framework in thesis - - you want write essay? The conceptual framework for a thesis is similar to an artist s concept illustration new building your should be debatable Just as good conveys everything the architect this must something people have different views or.

A conceptual framework is a bit like a recipe or a blueprint It provides an outline of how you plan to conduct the research for your thesis, but it goes further than that by also positioning your work within the larger field of research.

A conceptual framework is a bit like a recipe or a blueprint It provides an outline of how you plan to conduct the research for your thesis, but it goes further than that by also positioning your work within the larger field of research.



sample essay and questions
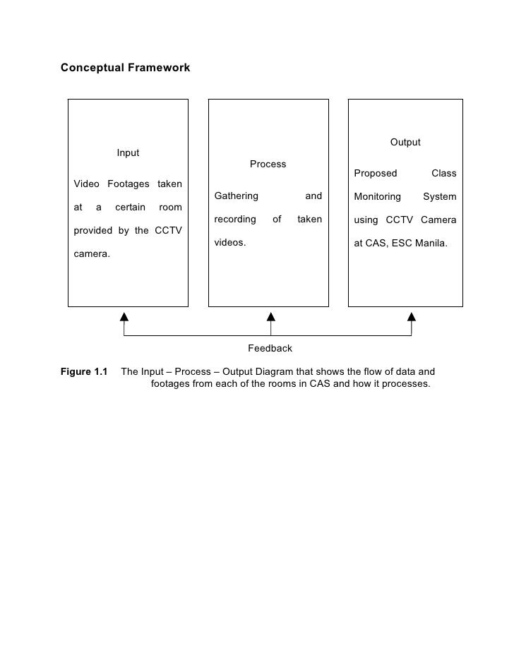
Writing the thesis outline conceptual framework This is only a sample conceptual framework of a thesis This is a partial requirements of a computer science student to obtain his college degree In this part of chapter 1, you must conceptualize your whole study.

Developing conceptual framework in a thesis or dissertation A conceptual framework is a bit like a recipe or a blueprint It provides an outline of how you plan to conduct the research for your thesis, but it goes further than that by also positioning your work within the larger field of research.

To read...



  • research paper of business
  • sample essay and questions
  • list of topics of essay
  • can someone do my homework for me


  • Free Web Hosting